Сибома-Транзит Сибома-Транзит
Гидравлические агрегаты поставка, гарантия, сервис по РФ и РБ
г. Ленинградская область, Офис и склад. 188354, Ленинградская область, Гатчинский район, д. Малое Верево, ул. Кутышева, дом 7
Пн-Пт: 9:00-17:00 офис
Пн-Пт: 09:30-16.30 склад

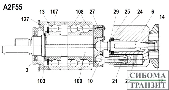
A2F55

Позиция Наименование Цена Кол-во    
3 Манжета 40x62x6 2 515 руб.    
6 Блок цилиндров 86x73.5 (лыска) 10 044 руб.    
10 Прижимная пластина 1 897 руб.    
12 Распределитель M 4 057 руб.    
12 Распределитель R 3 268 руб.    
12 Распределитель L 3 268 руб.    
21 Поршень с шатуном 20x84,4 1 551 руб.    
22 Центральный шип (с лыской) 1 297 руб.    
24 Тарельчатая пружина 160 руб.    
25 Держатель пружин 268 руб.    
29 Стопорный сегмент 293 руб.    
100 Ведущий вал d30 (шпонка) L179.5 9 242 руб.    
100 Ведущий вал T14d31.6 L165 9 242 руб.    
103 Гайка на вал 1 820 руб.    
150 Шестерённый насос 8 487 руб.    
ОЖИДАЕТ ПОСТУПЛЕНИЯ ПОД ЗАКАЗ